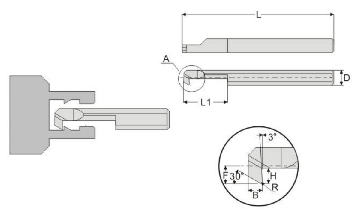
MXR 4 B1.0 R0.2 L10 минирезец Deskar - твердосплавный инструмент предназначен для высокоточной токарной обработки металла в миниатюрных деталях и заготовках.
Вид обработки: обратное точение.
Комплектация:
Заказанный в нашей компании инструмент доставляется практически в любой город России с помощью транспортных компаний. Подробнее о доставке.


