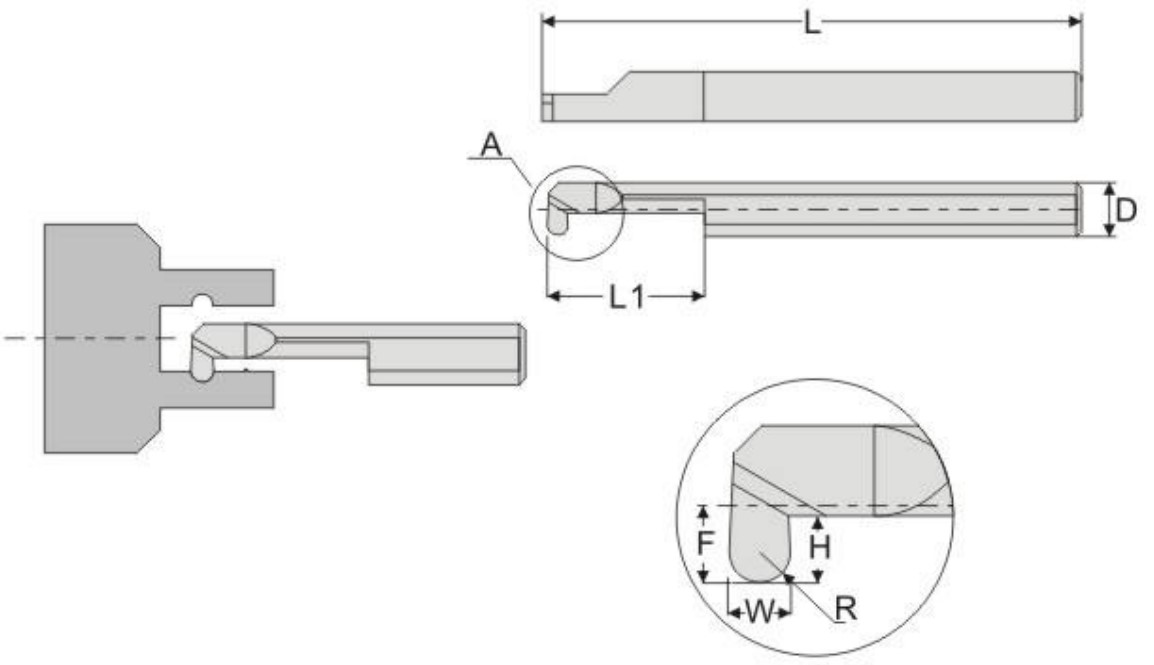
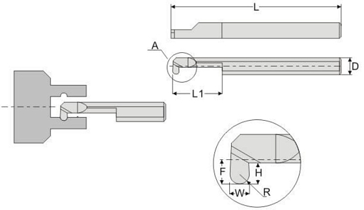
MKR 4 R0.4 L15 минирезец Deskar - твердосплавный инструмент предназначен для высокоточной токарной обработки металла в миниатюрных деталях и заготовках.
Вид обработки: обработка радиальных канавок.
Комплектация:
Заказанный в нашей компании инструмент доставляется практически в любой город России с помощью транспортных компаний. Подробнее о доставке.


