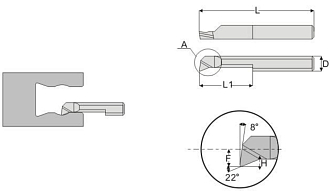
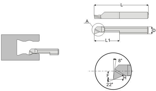
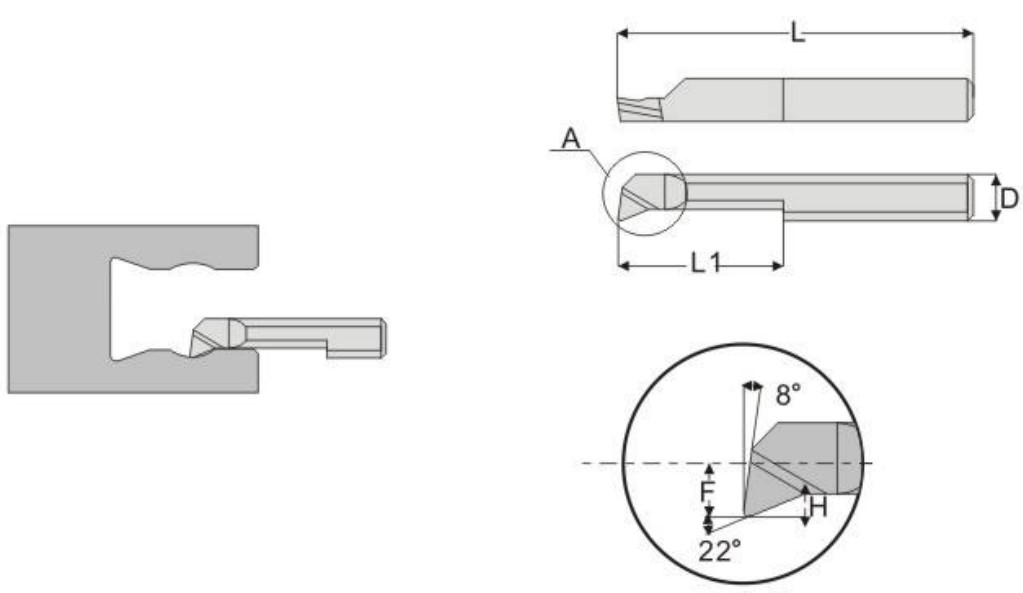
MPR 4 R0.2 L15 минирезец Deskar - твердосплавный инструмент предназначен для высокоточной токарной обработки металла в миниатюрных деталях и заготовках.
Вид обработки: профилирование и растачивание.
Комплектация:
Заказанный в нашей компании инструмент доставляется практически в любой город России с помощью транспортных компаний. Подробнее о доставке.


