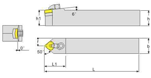
MCMNN2525M12 державка для наружного точения Deskar с сечением 25х25 используется с режущими пластинами CN**1204** (форма пластины: c-ромбическая 80°, размер: 12) для обработки металла.
M - прижим клин-прихватом сверху - обеспечивает надежное крепление пластины и точность обработки.
Комплектация державок:
Важно!
Пластины в комплект поставки не входят и приобретаются отдельно!
Заказанный в нашей компании инструмент доставляется практически в любой город России с помощью транспортных компаний. Подробнее о доставке.


