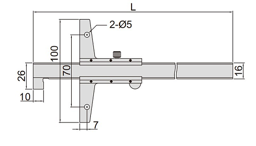
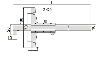
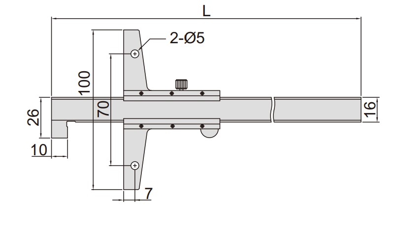
Цифровой штангенглубиномер INSIZE предназначен для измерений глубины элементов деталей.
Принцип действия штангенглубиномеров с отсчетом по нониусу основан на измерении линейных размеров методом непосредственной оценки совпадения шкалы на штанге с делениями нониуса, расположенного на рамке штангенглубиномера.
Особенности
Заказанный в нашей компании инструмент доставляется практически в любой город России с помощью транспортных компаний. Подробнее о доставке.


