- Исполнение переходной втулки
- Разновидности переходных втулок
- Требования к переходным втулкам
- Преимущества переходных втулок
- Производители и материалы
- Популярные вопросы об установке станков
- Для чего нужна переходная втулка простыми словами?
- Что вставляют в переходную втулку?
- Как хранить переходную втулку?
- Каковы признаки износа переходной втулки?
Исполнение переходной втулки
Переходная втулка на конус представлена полой деталью с проемом для шпоночного крепления. Наружная и внутренняя часть элемента имеет цилиндрическую или коническую форму.
Рис. 1 Переходная втулка
Фиксацию переходной втулки обеспечивает упругая и пластическая деформация. Удерживающие усилия формируются за счет трения. Это обеспечивает быструю установки инструмента, высокую безопасность и производительность труда.
Рис. 2 Установка инструмента при помощи переходной втулки
Разновидности переходных втулок
Купить переходные втулки для станков можно в нескольких исполнениях: 7:24, с конусом Морзе, с HSK-конусом и конусом R8. Каждый вариант обладает собственными особенностями.
Втулки 7:24
Оснастка по ГОСТ 13790-68. Изделия ориентированы на станки ЧПУ с автоматической сменой инструмента, обеспечивают переход с 7:24 на конус Морзе.
Рис. 3 Переходная втулка 7:24
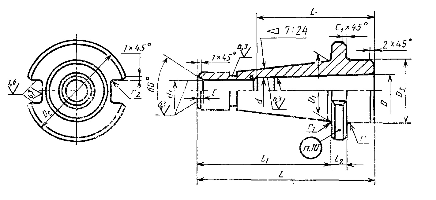
Переходная втулка по ГОСТ 13790 обладает крупным осевым упором, что гарантирует высокую точность установки. Оснастка оптимальна для работы со сверлами и концевыми фрезами.
Рис. 4 Чертеж переходной втулки 24:7
Таблица 1. Стандартные размеры переходных втулок с 7:24 на конус Морзе
Переходные втулки с конусом Морзе
Переходные втулки Морзе позволяют использовать инструменты с разными номерами конусов. Продукция выпускается по ГОСТ 13598-85, доступна в двух исполнениях. Первое предполагает цилиндрическую основную плоскость.
Рис. 5 Переходная втулка с конусом Морзе в первом исполнении
Во втором исполнении основная плоскость имеет скос.
Рис. 6 Переходная втулка на конус Морзе во втором исполнении
Размеры втулок определяются требованиями государственного стандарта, прописаны в таблице.
Переходные втулки с HSK-конусом
Переходная втулка для токарных станков и оборудования для фрезерования. Оснастка отличается конусностью 1:10, содержит несколько разновидностей фланцев. Последние имеют буквенное обозначение от А до F.
Рис. 7 Втулка с HSK-конусом
К преимуществам решений формата HSK относится малый вес, надежная фиксация и возможность быстрой смены инструмента. Последнее особенно важно при сложных технологических процессах.
Рис. 8 Чертеж переходной втулки с HSK-конусом
Внушительная вариативность размеров позволяет подобрать переходные токарные втулки для любых нужд.
Втулки с конусом R8
Узкоспециализированные решения для оборудования Bridgeport Machines. Продукция разрабатывалась для работы с цанговыми зажимами, но впоследствии обрела конический профиль.
Рис.9 Переходная втулка R8
Требования к переходным втулкам
Переходные конические втулки не должны содержать следующих дефектов.
- Задиры на внешней и внутренней поверхности, а также прочие механические повреждения.
- Изменение геометрии изделия, нарушающее соосность шпинделя и инструмента.
- Следы температурной деформации.
- Наличие выработки внутри и снаружи втулки.
- Коррозионное поражение оснастки, оказывающее влияние на ее функционал.
- Следы химического воздействия.
Также не допускаются прочие дефекты, препятствующие полноценной эксплуатации изделия в нормальном режиме.
Рис.10 Коррозионное поражение на поверхности втулок
Преимущества переходных втулок
Переходные втулки – востребованная оснастка, обладающая множеством преимуществ.
- Совместимость с токарными, фрезерными и прочими станками по металлообработке.
- Возможность быстрой смены инструмента, оптимизация рабочих процессов.
- Расширение функционала оборудования, используемого на производстве.
- Возможность установки широкого спектра инструментов: зенкеры, развертки, сверла, фрезы и т.д.
- Наличие решений для работы с задними бабками токарных станков.
- Высокая точность центрирования инструмента.
Втулки имеют стандартное исполнение, гарантирующее прекрасную совместимость. При их установке и извлечении не возникает проблем.
Производители и материалы
Втулки переходные для фрез, разверток и прочего инструмента выпускают отечественные и зарубежные предприятия. Среди производителей выделяют Саранский и Оршанский инструментальные заводы. Они предлагают обширную номенклатуру продукции, реализуют высококачественные изделия, соответствующие требованиям ГОСТ.
Рис.11 Втулка Оршанского инструментального завода
При изготовлении большинства втулок используется сплав 40Х. Он представляет собой конструкционную легированную сталь с высокой прочностью и вязкостью. Материал широко распространен в машиностроении, является основой для шестерней, валов и других передаточных элементов. На его основе изготавливаются гайки и болты для ответственных сооружений.
В химическом составе сплава преобладает железо – до 97%. В качестве легирующих элементов выступают никель и марганец – до 0,3% и 0,8% соответственно. Повысить коррозионную стойкость материала помогает хром в объеме до 1,1%. Количество вредоносных примесей (серы и фосфора) сведено к минимуму, составляет 0,035%.
Популярным зарубежным производителем является STV. Предприятие предлагает переходные втулки с лапкой китайского производства. Покупателям доступны переходные втулки 4/4, переходные втулки 3/3 и переходные втулки 5/5. Также в наличии переходные втулки 40, 32 и 24. Продукция соответствует отечественным стандартам качества, подходит для эксплуатации на производстве и в быту.
Рис. 12 Переходная втулка производства STV
Чтобы приобрести переходные элементы, воспользуйтесь предложением интернет-магазина «РИНКОМ». Мы реализуем сертифицированную продукцию от ведущих производителей. Всестороннюю помощь в подборе оснастки оказывают штатные консультанты.
Заказать втулки переходные, отвечающие имеющимся потребностям, можно в соответствующем разделе сайта.




