- Устройство оснастки
- В каких случаях используются вращающиеся центры?
- Преимущества оснастки
- Форма фиксирующей части
- На что обратить внимание при покупке?
- Порядок установки
- Где купить вращающиеся центры?
- Популярные вопросы о вращающихся центрах
- Как оптимизировать работу с вращающимися центрами при широкой номенклатуре изделий?
- Можно ли не использовать вращающиеся центры?
- Какой уход требуется вращающимся центрам?
Рис. 1 Центр вращающийся
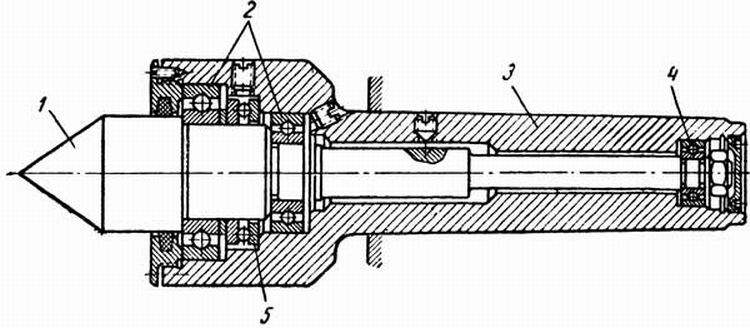
Устройство оснастки
Продукт имеет типовую конструкцию, состоит из 5 элементов, отображенных на рисунке 2.
Где:
- Наконечник.
- Шариковые подшипники контактной части.
- Хвостовик.
- Шариковые подшипники хвостовой части.
- Упорный подшипник.
Купить вращающийся центр в данном исполнении стоит при работе с малыми и средними деталями. Для более сложных задач рекомендуются унифицированные решения, встроенные пиноли. Их основные компоненты представлены на рисунке 3.
Рис. 3 Компоненты вращающегося центра, встроенного в пиноль
Где:
- Пиноль.
- Упорный подшипник.
- Радиальный подшипник.
- Втулка.
- Наконечник.
Устройство обладает повышенной устойчивостью и точностью настройки, востребовано в промышленности.
Рис. 4 Пинольный вращающийся центр в производственных условиях
В каких случаях используются вращающиеся центры?
Вращающиеся центры для станков востребованы при обработке деталей на скорости более 75 оборотов в минуту. Отсутствие элемента приводит к износу центрового отверстия и радиальному биению.
Рис. 5 Расширение отверстия при работе без вращающегося центра
Преимущества оснастки
Купить центр токарный вращающийся стоит по ряду причин.
- Устойчивость к внешнему воздействию. Качественное распределение нагрузки.
- Более надежное закрепление детали в сравнении с упорными фиксаторами.
- Значительный ресурс за счет рационального расположения подшипников.
- Сохранение эксплуатационных показателей при длительной и интенсивной работе.
Многие производители предлагают вращающиеся центры для токарных станков со сменными насадками. Они позволяют адаптировать оснастку под нужды производства, расширяют возможности мастера.
Рис. 6 Вращающийся центр с поддержкой сменных насадок
Форма фиксирующей части
Станочные вращающиеся центры имеют две формы фиксирующих частей. Первая – классическая. Она представлена заостренным конусом, устанавливаемым в центровое отверстие. Изделие предназначено для работы с цельнометаллическими заготовками, предъявляет повышенные требования к их прочности.
Рис. 7 Набор вращающихся центров конусов
Для полых деталей необходима грибообразная фиксирующая часть. Она надежно удерживает трубы, валы и прочие изделия с пустотами. Исполнение в виде усеченного конуса позволяет равномерно заполнить проем и надежно закрепиться в нем. Нагрузка распределяется вдоль места контакта. Это исключает риски дополнительных напряжений и повреждения детали.
Рис. 8 Центр вращающийся грибковый
Сведения о размерах и прочих параметрах оснастки представлены в ГОСТ 8742-75.
Таблица 1. Исполнения и типоразмеры вращающихся центров
На что обратить внимание при покупке?
При покупке вращающегося центра по ГОСТ 8742-75 стоит учесть ряд факторов.
Специфика станка
Каждый производитель станков предоставляет сведения о совместимых центрах. Они содержатся в инструкции и на официальном сайте. Перед покупкой оснастки стоит ознакомиться с информацией. Это исключит проблемы при установке и дальнейшей эксплуатации продукта.
Масса заготовок
Вращающийся центр должен выдерживать нагрузку, создаваемую заготовкой. Максимально допустимая масса прописывается в паспорте изделия.
Некоторые производители указывают «номинальную нагрузку». Это предельный показатель, при котором разрушается оснастка. Он должен в 2 раза превышать вес обрабатываемых деталей.
Чтобы избежать проблем при работе с тяжеловесными продуктами, рекомендуется применять усиленные вращающиеся центры.
Рис. 9 Усиленный вращающийся токарный центр
Осевая нагрузка
Подбор оснастки с учетом осевой нагрузки исключает перекосы при обработке заготовки. Показатель привязан к направлению и силе воздействия.
| Тип осевой нагрузки | Изображение | Тип осевой нагрузки | Изображение | Тип осевой нагрузки | Изображение |
| Радиальная |
Радиальная
|
Односторонняя |
Односторонняя
|
Двухсторонняя |
Двухсторонняя
|
Тип наконечника
В продаже представлены решения с наконечниками нескольких типов.
| Тип наконечника | Изображение |
| Тип А – классическое исполнение с D – от 10,2 до 15,7 мм и L – от 26,0 до 39,0 мм. |
A
|
| Тип B, c D – от 10,2 до 15,7 мм, d – от 8 до 12 мм и L – от 28,5 до 44,0 мм. |
B
|
| Тип С, c D – от 10,2 до 15,7 мм, d – от 5,5 до 10 мм и L – от 29 до 45 мм. |
C
|
| Тип D, c D – от 10,2 до 15,7 мм, d – от 5 до 8 мм и L – от 27,5 до 42,0 мм. |
D
|
| Тип Е, c D – от 10,2 до 15,7 мм, d – от 8 до 12 мм и L – от 25,0 до 43,0 мм. |
E
|
| Тип F – грибообразная насадка с D – от 28,0 до 40,0 мм и L – от 30 до 48 мм. |
F
|
Скорость вращения
Предельная скорость вращения центра рассчитывается с поправкой на его габариты, материал изготовления и прочие факторы. Для токарных операций подходят модели со скоростью от 3 000 оборотов в минуту. Для шлифовальных работ достаточно 500 оборотов в минуту.
Порядок установки
Установка вращающегося центра – базовая процедура, выполняемая в 4 шага. Ниже представлен пример для модели с затяжной гайкой.
| Этап | Операция | Изображение |
| 1 | Качественная очистка вала посредством ветоши и протяжка затяжной гайки за ручку центра. |
1
|
| 2 | Установка вала в заднюю бабку с соблюдением соосности. Недопустимо наличие перекосов и прочих дефектов. |
2
|
| 3 | Протяжка гайки, перекрывающей тыльную часть хвостовика. |
3
|
| 4 | Финишная фиксация элемента посредством комплектного ключа. |
4
|
Где купить вращающиеся центры?
Купить задние вращающиеся центры на выгодных условиях предлагает интернет-магазин «РИНКОМ». Наши клиенты получают широкий спектр преимуществ.
- Приобретение высококачественной оснастки от ведущих производителей.
- Подбор подходящих решений с учетом специфики оборудования и обрабатываемых материалов.
- Доступные цены без переплат и скрытых комиссий.
- Множество сопутствующих товаров для токарной обработки.
- Полное информационное сопровождение на всех этапах сотрудничества.
- Доставка оплаченных товаров по всей России.
Помощь в оформлении заявки оказывают штатные консультанты. Они рекомендуют изделия, соответствующие запросам покупателей, предлагают выгодные решения с учетом цены и выполняемых операций.
Чтобы ознакомиться с перечнем доступных товаров, посетите соответствующий раздел нашего каталога.




