Зарождение вагоностроения в России пришлось на середину XIX века. В это время открылся Александровский завод, изготавливавший крытые вагоны-платформы. Затем появились новые предприятия вроде завода Вилиамса и Бухтеева и завода Бремме и Левестама.
Рис. 1 Пассажирский вагон образца 1846 года
После Октябрьской революции направление ускорило рост. В 1933 году учреждается Научно-исследовательское бюро вагоностроения. Параллельно возводятся новые заводы и фабрики для формирования полного производственного цикла. К 1940 году СССР выпустил более 300 тысяч грузовых вагонов и свыше 1 тысячи пассажирских.
Сегодня отрасль продолжает развитие. Появляются новые вагоносборочные участки и цеха, реализуются прогрессивные проекты для скоростных поездов и грузовых составов.
Рис. 2 Электропоезд со скоростными пассажирскими вагонами
Основные элементы вагона
Неизменными компонентами вагона являются тележка, рама и сцепное устройство. Каждый имеет свои особенности.
Тележки
Тележка – важный элемент ходовой части. Она обеспечивает перемещение вагона по рельсам и компенсирует воздействующие нагрузки. Конструкция состоит из 5 элементов: колесных пар, буксов, боковой рамы, комплекта рессорного подвешивания и надрессорной балки.
Рис. 2 Электропоезд со скоростными пассажирскими вагонами
Заводы вагоностроения используют 4 схемы рессорного подвешивания.
|
Наименование |
Схема подвешивания |
Наименование |
Схема подвешивания |
|
Буксовое |
Буксовое
|
Люлечное |
Люлечное
|
|
Центральное |
Центральное
|
Безлюлечное |
Безлюлечное
|
Связь рамы с буксовыми узлами осуществляется одним из 5 способов.
|
Способ |
Схема |
Способ |
Схема |
Способ |
Схема |
|
Непосредственная |
Непосредственная
|
Упруго-челюстная балансирная |
Упруго-челюстная балансирная
|
Бесчелюстная |
Бесчелюстная
|
|
Поводково-бесчелюстная |
Поводково-бесчелюстная
|
Рычажно-бесчелюстная |
Рычажно-бесчелюстная
|
Колесные пары выпускают из одноименной стали марок 1 и 2. Первая содержит до 0,52% углерода, до 1,20% марганца и до 0,60% кремня, оптимальна для пассажирских вагонов. Вторая – имеет до 0,65% углерода, до 0,90% марганца и до 0,42% кремния, применяется в грузовом вагоностроении. Доля серы и фосфора в обеих колесных сталях не превышает 0,04% и 0,035% соответственно.
Крупные центры вагоностроения изготавливают колесные пары в 6 вариациях.
|
Тип колесной пары |
Изображение |
Тип колесной пары |
Изображение |
|
С шейкой оси с внешней стороны колеса |
С шейкой оси с внешней стороны колеса
|
С тормозными дисками на колесе |
С тормозными дисками на колесе
|
|
С шейкой оси с внутренней стороны колеса |
С шейкой оси с внутренней стороны колеса
|
С асимметричным положением передачи |
С асимметричным положением передачи
|
|
С тормозными дисками на оси |
С тормозными дисками на оси
|
С симметричным положением передачи |
С симметричным положением передачи
|
Институты вагоностроения работают над совершенствованием имеющихся и подготовкой новых решений. Они экспериментируют со сплавами, оптимизируют конструктивное исполнение и предлагают передовые способы производства компонентов.
Рамы
Рамы – это несущие конструкции, удерживающие основные элементы вагона. К ним крепятся тележки, сцепные устройства, а также дополнительные модули вроде цистерн, платформ и бункеров. Выделяют решения для пассажирских и грузовых вагонов.
|
Тип рамы |
Изображение |
Тип рамы |
Изображение |
|
Пассажирская |
Пассажирская
|
Грузовая |
Грузовая
|
При фиксации элементов используются заклепки. В ряде случаев формируются неразъемные соединения посредством сварки.
Сцепные устройства
Автосцепка – это ударно-тяговый прибор, соединяющий вагоны с локомотивом и между собой. Конструкция передает усилия по ускорению и торможению, обеспечивает подвижность соединения при прохождении поворотов.
Рис. 4 Пример маркировки державок для наружного точения
Механизм содержит большой и малый зуб, замок, замкодержатель, хвостовик и упор. Удерживающие усилия формируются за счет ответных зубьев. Соединение автосцепки происходит при ударе, разъединение – с участием человека.
В рамках вагоносборочного производства используют три типа сцепок.
|
Тип автосцепки |
Описание |
Изображение |
|
Нежесткие |
Соединения, допускающие вертикальный ход сцепленных корпусов. При перепадах высот сохраняется перпендикулярность осей. |
Нежесткие
|
|
Полужесткие |
Сцепки с шарнирами, обеспечивающими угловые отклонения при перепадах высот. Свободный вертикальный ход корпусов невозможен. |
Полужесткие
|
|
Жесткие |
Решения с корпусом на подпружиненных опорах и ограничителями, предотвращающими саморасцепы. |
Жесткие
|
Перед отправкой в эксплуатацию узел проверяют шаблоном по ряду параметров.
|
Проверяемый параметр |
Изображение |
Проверяемый параметр |
Изображение |
Проверяемый параметр |
Изображение |
|
Уширение зева |
Уширение зева
|
Длина малого зуба и зазор между тяговой поверхностью |
Длина малого зуба и зазор между тяговой поверхностью
|
Толщина замка |
Толщина замка
|
|
Работа защиты от саморасцепа |
Работа защиты от саморасцепа
|
Удержание замка в расцепленном состоянии |
Удержание замка в расцепленном состоянии
|
Виды вагонов
Центры вагоностроения в России изготавливают грузовые и пассажирские вагоны. Первые доступны в 8 вариантах.
|
Тип грузового вагона |
Изображение |
Тип грузового вагона |
Изображение |
|
Крытый хоппер для сыпучих грузов |
Крытый хоппер для сыпучих грузов
|
Цистерна для транспортировки жидкостей |
Цистерна для транспортировки жидкостей
|
|
Открытый хоппер для сыпучих грузов |
Открытый хоппер для сыпучих грузов
|
Вагон-аппарель |
Вагон-аппарель
|
|
Платформа с вертикальными ограничителями для транспортировки леса |
Платформа с вертикальными ограничителями для транспортировки леса
|
Фитинговая платформа с креплениями для габаритных грузов |
Фитинговая платформа с креплениями для габаритных грузов
|
|
Платформа для перевозки листового проката в рулонах |
Платформа для перевозки листового проката в рулонах
|
Платформа для перевозки труб |
Платформа для перевозки труб
|
Пассажирские вагоны имеют идентичный вид. Они представлены моделями 68-4065, 68-4066, 68-4095 и 68-4096. Комплектация зависит от назначения, может содержать электрические и сдвижные двери, кондиционеры и прочее вспомогательное оборудование.
Рис. 5 Пример маркировки державок для наружного точения
При этом внутренняя планировка имеет ряд существенных различий.
|
Тип пассажирского вагона |
Планировка |
|
Вагон с местами для сидения |
Вагон с местами для сидения
|
|
Плацкартный вагон |
Плацкартный вагон
|
|
Купейный вагон |
Купейный вагон
|
|
Купейный штабной вагон |
Купейный штабной вагон
|
|
Вагон-ресторан |
Вагон-ресторан
|
|
Почтовый вагон |
Почтовый вагон
|
Применяемые инструменты
При эксплуатации подвижного состава используются инструменты осмотрщика вагонов и путевой инструмент. Первый предназначен для работы с составом, второй – с ЖД-полотном.
Набор ЖД инструмента для осмотра вагонов включает следующую оснастку.
|
Тип инструмента |
Решаемая задача |
Изображение |
Тип инструмента |
Решаемая задача |
Изображение |
|
Шаблон Басалаева |
Оценка перекоса буксы и позиции лабиринтного кольца |
Шаблон Басалаева
|
Ломик-калибр |
Оценка степени износа контура зацепления автосцепок |
Ломик-калибр
|
|
Зеркало |
Визуальный осмотр труднодоступных мест |
Зеркало
|
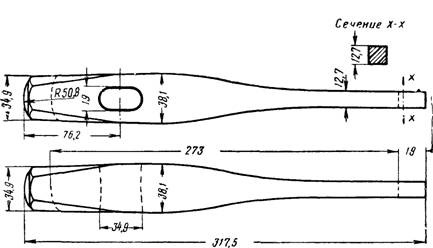
Кронциркуль |
Обмерные работы |
Кронциркуль
|
|
Телескопическое зеркало |
Модификация предыдущего инструмента, расширяющая возможности осмотрщика |
Телескопическое зеркало
|
Молоток |
Проверка состояния автосцепки и скользунов. Оценка уровня перекоса подвижного состава |
Молоток
|
|
Ломик |
Проверка предохранителя на предмет саморасцепа |
Ломик
|
Инструмент для путевых работ делится на ручной и механизированный. Первая категория имеет следующий вид.
|
Тип инструмента |
Изображение |
Тип инструмента |
Изображение |
Тип инструмента |
Изображение |
|
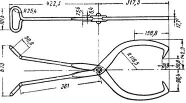
Шпальные клещи |
Шпальные клещи
|
Клещи для брусьев |
Клещи для брусьев
|
Пробойник с квадратным сечением |
Пробойник с квадратным сечением
|
|
Путевой дексель |
Путевой дексель
|
Плотничный дексель |
Плотничный дексель
|
Пробойник с круглым сечением |
Пробойник с круглым сечением
|
|
Костыльный лом |
Костыльный лом
|
Костыледер |
Костыледер
|
Штанга-груша |
Штанга-груша
|
Также могут использоваться кирки, лопаты, костыльные молотки и прочая вспомогательная оснастка.
Механизированный инструмент для путевых работ представлен группой профильных устройств. Они являются производительным оборудованием, оснащенным электрическими, гидравлическими и прочими приводами.
|
Механизированный путевой инструмент |
Изображение |
Механизированный путевой инструмент |
Изображение |
|
Шпалодробилка |
Шпалодробилка
|
Рельсошлифовальный станок |
Рельсошлифовальный станок
|
|
Рельсорезный станок |
Рельсорезный станок
|
Механизм для одиночной смены шпал |
Механизм для одиночной смены шпал
|
|
Рельсосверлильный станок |
Рельсосверлильный станок
|
Двухниточный путеподъемник |
Двухниточный путеподъемник
|
К эксплуатации допускается ЖД-инструмент, прошедший сертификацию. Оснастка должна соответствовать нормам надежности и безопасности.




