- Устройство цангового патрона
- Как работает цанговый патрон?
- Обозначение цанговых патронов
- Делаем цанговый патрон для ручного инструмента и станка
- Способ 1. Простейшая цанга из проволоки
- Способ 2. Цанговый зажим из винта
- Способ 3. Самодельный цанговый патрон для фрезерного станка
- Крепление цангового патрона на станке и ручном инструменте
- Где купить цанговые патроны?
Оснастка используется для фиксации деталей, поперечное сечение которых не совпадает с формой входного отверстия. А необходимость в новых зажимах объясняется тем, что иногда бывает сложно найти серийные комплектующие необходимых параметров. В этой статье мы расскажем, как изготовить самодельную муфту-цангу для дрели и токарного станка, как ее установить и отцентрировать. Но начнем с принципа работы цангового патрона.
Фото. 1 Цанговый патрон производства ООО «Спецмашдеталь»
Устройство цангового патрона
Устройство цангового патрона достаточно простое. Основная деталь оснастки — это цанга, специальное приспособление в виде втулки с продольными разрезами. Эти разрезы формируют пружинящие лепестки, которые надежно удерживают обрабатываемую деталь. Лепестков может быть три, четыре, шесть и более — в зависимости от диаметра втулки.
На предприятиях машиностроения обычно используют зажимы типа ER. Эти детали имеют по две зоны зажима вдоль оси. Поэтому помещенный внутрь инструмент жестко фиксируется, а радиальные биения отсутствуют, так что их даже не учитывают при расчетах.
Рис. 1 Устройство цангового патрона
Серийные цанговые патроны изготавливают из инструментальной закаленной стали и обладают высокой прочностью и стойкостью к износу. Самодельные зажимы делают из бронзы, латуни, алюминия и стали.
Чем цанговый патрон отличается от кулачкового?
Цанговые патроны, как и кулачковые, представляют собой держатели для инструментов и заготовок, поэтому их часто путают. Однако у этих оснасток есть принципиальные различия. Кулачковые патроны считаются более универсальными и потому могут использоваться для фиксации инструментов с хвостовиками разных диаметров. Напротив, цанги предназначены для работы с определенными диаметрами и для инструментов с другими хвостовиками не подходят.
Как работает цанговый патрон?
Расскажем, как работает цанговый патрон, который используется на токарных станках и ручном инструменте.
Оснастка состоит из нескольких цанг и самозажимной гайки, которая оказывает давление на торец патрона. Из-за прилагаемого усилия цанга смещается во втулку, уменьшаясь в размерах, а ее лепестки сжимаются и надежно закрепляют хвостовик инструмента или обрабатываемую деталь. Чтобы снять заготовку, гайку отвинчивают, тем самым увеличивая цангу в диаметре.
Главное преимущество оснастки — способность отлично центрироваться, из-за чего зафиксированный с их помощью инструмент имеет минимальное радиальное биение. А для приведения зажима в действие нет необходимости использовать ключи.
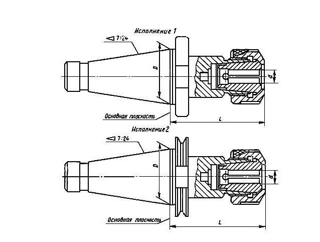
Обозначение цанговых патронов
Обозначение цангового патрона с наружным конусом, предназначенного для фиксации инструмента с цилиндрическим хвостовиком, на чертеже выглядит следующим образом.
Рис. 2 Цанга для универсального станка с конусом номер 50, диаметром под хвостовик (d) 12 мм, длиной 90 мм
В таблице ниже приведены стандартные размеры цанговых патронов, которые важно учитывать в расчетах:
|
Обозначение конуса |
D |
d |
l, не более |
|
30 |
31,75 |
от 2 до 12 |
90 |
|
40 |
44,45 |
||
|
50 |
69,85 |
||
|
30 |
31,75 |
от 10 до 25 |
100 |
|
40 |
44,45 |
||
|
50 |
69,85 |
||
|
30 |
31,75 |
от 15 до 40 |
110 |
|
40 |
44,45 |
||
|
50 |
69,85 |
Действующие ГОСТы
Главный действующий стандарт, относящийся к такому типу оснастки, — ГОСТ 26539-85. В нем вводятся характеристики и маркировка цангового патрона с наружным конусом 7:24. А в Постановлении Государственного комитета СССР по стандартам №5943 даются следующие рекомендации:
- графические обозначения опор, зажимов и установочных устройств (в том числе цанговых патронов), используемые в технической документации;
- для отображения опор и зажимов применяют сплошные тонкие линии (ГОСТ 2.303-68).
Делаем цанговый патрон для ручного инструмента и станка
Простейший самодельный цанговый патрон для ручного инструмента можно создать без использования токарного станка. Если же вам требуется оснастка для машины, ее придется вытачивать из заготовки и без специальных знаний здесь не обойтись.
Способ 1. Простейшая цанга из проволоки
Для оснащения дрели с малой мощностью двигателя, которая будет использоваться для работы с деревянными и пластиковыми заготовками, подойдет миниатюрная муфта-цанга, спаянная из стальной проволоки. Важно учитывать, что полученный патрон может использоваться только для сверл одного диаметра, при этом диаметр сверла должен соответствовать выходному валу двигателя.
Фото. 2 Простейший цанговый зажим из проволоки
Для работы потребуются такие инструменты и материалы:
- цилиндрическая заготовка из металла, диаметр которой совпадает с диаметрами выходного вала двигателя и сверла;
- стальная проволока толщиной 1 мм;
- электрический паяльник;
- флюс для пайки или КФЭТ.
Проволоку следует намотать на болванку, формируя жесткую пружину. Витки проволоки необходимо располагать максимально близко друг к другу. Готовую пружину пропаивают прямо на заготовке, используя флюс или КФЭТ.
Получившуюся цанговую муфту надевают на вал электродвигателя, а в отверстие на противоположном конце вставляют сверло.
Способ 2. Цанговый зажим из винта
Цанговый патрон со схожими характеристиками можно изготовить и другим способом. Изделие будет состоять из двух частей, соединенных винтом. Фиксацию зажима на валу электродвигателя и инструмента обеспечивают цилиндрические желобки на внутренних поверхностях оснастки.
Фото. 3 Заготовки для изготовления цангового зажима
Для работы потребуются:
- болт или винт на 8 мм;
- закрытая гайка М8;
- болгарка с диском по металлу;
- дрель и сверла на 2 и 5 мм.
Фото. 4 Цанговый патрон из винта установленный на электродрель в работе
В ножке болта просверлите отверстие на 3 мм. Сделайте крестообразно два ровных осевых пропила болгаркой или ножовкой по металлу. После этого в закрытой гайке ровно по центру просверлите отверстие диаметром 2 мм. Расширьте его до 5 мм. Закруглите край болта, чтобы получился конус. Готовый цанговый патрон перед применением необходимо отцентрировать. Только в этом случае он будет работать корректно.
Способ 3. Самодельный цанговый патрон для фрезерного станка
Самодельный цанговый патрон для фрезерного станка можно изготовить на токарном станке. Для оснастки потребуется стальная болванка (кругляк диаметром 40 мм и высотой 70 мм). Работа проводится в два этапа. Вначале делается корпус патрона, потом зажимная гайка.
Фото. 5 Цанга для фрезерного станка, выточенная на токарном станке
Изготовление корпуса патрона:
- Зажмите болванку в патрон обратными кулачками.
- Просверлите в ней сквозное отверстие по оси и расточите его.
- Нарежьте в отверстии резьбу М27 х 2.
- Обточите наружную поверхность болванки.
- Подрежьте торец, который станет опорой для базовой опорной поверхности на шпинделе.
- Снимите полученную оправку с патрона и трехкулачковый патрон со станка и навинтите оправку на шпиндель до упора.
- Расточите цилиндрическую и коническую поверхности гнезда под цангу.
- Проточите конец оправки и нарежьте в нем резьбу для зажимной гайки.
Изготовление зажимной гайки:
- Заготовку зажмите в обратные кулачки трехкулачкового патрона.
- Просверлите в ней отверстие, расточите внутреннюю полость.
- Проточите внутреннюю торцевую опорную поверхность.
- Нарежьте в гайке ответную резьбу.
- Навинтите гайку на патрон, предварительно установленный на шпиндель станка.
Получившуюся оснастку можно усовершенствовать для более простой фиксации инструмента. С этой целью проводят накатку рифлений на боковых поверхностях корпуса патрона и гайки и делают пазы в наружных боковых поверхностях.
Крепление цангового патрона на станке и ручном инструменте
Крепление цангового патрона и его центрирование выполняются на шпинделе токарного станка. Отметим, что диаметры патронов и методы их установки стандартизированы. К самым распространенным конструкциям конца шпинделя относят крепежи типа C и типа D (cam-lock). Также для установки цанговых патронов часто используют фланцы и планшайбы, которые размещаются на шпинделе.
Теперь расскажем, как отцентрировать цанговый патрон на валу двигателя ручного инструмента (электродрели). Регулировку проводят в двух плоскостях, при этом вначале устраняют биение в одной плоскости, потом — в другой. Ход работ:
- Зафиксируйте дрель на столе (в лежачем положении).
- Прокрутите патрон, чтобы нужная пара болтов стала параллельна столу.
- Проверните патрон на 180 градусов и зафиксируйте отклонение патрона.
- Исключите биение, подтягивая и ослабляя пару винтов.
Аналогичным образом поступают со второй парой винтов. Чтобы отклонение в двух плоскостях было заметнее, используйте длинное сверло.
Где купить цанговые патроны?
Интернет-магазин «Ринком» предлагает купить цанговые патроны по оптимальной цене. Мы сотрудничаем с оптовыми и частными покупателями и даем скидки на большие партии товаров. Вместе с цанговыми патронами вы можете приобрести держатели ER11. Подробности о сроках поставки оснастки уточняйте у менеджера магазина.




